Зимняя горка Савушка Зима Wood 9/4
Савушка Зима Wood 9/4: двухскатная горка для больших зимних приключений
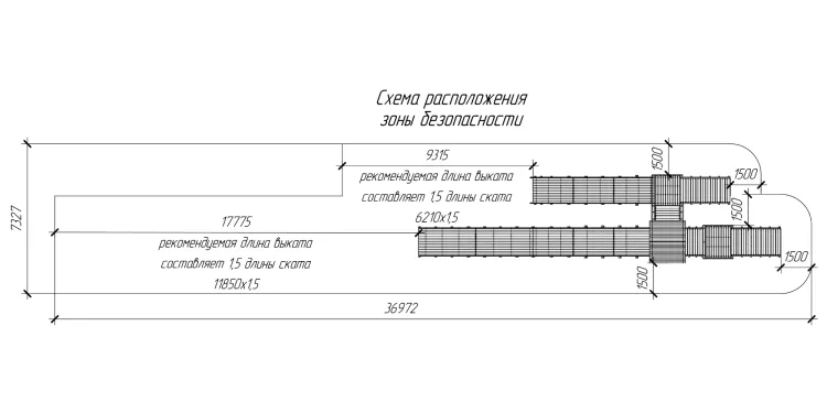
Савушка Зима Wood 9/4 — это многоуровневая зимняя горка с двумя длинными скатами (6,2 м и 11,8 м). Идеально подходит для активных игр, катания на тюбингах и ледянках. Благодаря прочной конструкции и широкой платформе, эта модель станет центром зимних развлечений во дворе, парке или общественном пространстве.
Горка соответствует ТР ЕАЭС 038/2016 и ГОСТ, что позволяет устанавливать её в общественных местах.
Акция: тюбинг в подарок!
При покупке зимней горки Савушка — тюбинг в ПОДАРОК. Выбирайте активные игры с максимальной выгодой!
ПодробнееЛабораторно-подтверждённая безопасность
Зимние горки Савушка проходят испытания в аккредитованной лаборатории, внесённой в реестр Росаккредитации. Лаборатория выполняет независимые измерения и выдаёт официальные протоколы соответствия ТР ЕАЭС 038/2016.

Это позволяет устанавливать горку:
- в школах, детских садах и парках;
- на территориях жилых комплексов и общественных зон;
- на балансе учреждений и организаций.
Детальные характеристики
- Каркас башни и несущие конструкции – клееный брус 90×90 мм
- Каркас ската горки – брус 45×90 мм
- Материал – ель/сосна камерной сушки
- Ступени – антискользящие, с ребристой поверхностью
- Тип конструкции – многоуровневая
- Тип лестницы – двухмаршевая
- Высота платформы №1 – 1 900 мм
- Высота платформы №2 – 2 700 мм
- Количество горок – 2 шт.
- Ширина ската №1 – 1 250 мм
- Ширина ската №2 – 1 350 мм
- Длина ската №1 – 6 210 мм
- Длина ската №2 – 11 850 мм
- Количество лестничных маршей – 4 шт.
Почему стоит выбрать Савушка Зима Wood 9/4?
- Два длинных ската для максимального драйва и веселья.
- Прочный клееный брус выдерживает любые зимние нагрузки.
- Безопасность: широкие антискользящие ступени и высокие ограждения.
- Сертифицировано — соответствует ГОСТ и ТР ЕАЭС 038/2016.
- Универсальность — подходит как для частных дворов, так и для общественных площадок.
Видеообзор зимних горок Савушка
Полезно знать перед покупкой
Мы подготовили короткие и понятные статьи:
Условия монтажа
Компания выполняет только монтаж игрового комплекса. Подготовка и выравнивание участка в услугу не входят и должны быть выполнены заранее. В зимний период, особенно в морозы для проведения монтажа необходимо обеспечить:
- доступ к электричеству (т.к. инструменты быстро "садятся");
- тёплый чай или место, где монтажная бригада сможет согреться.
| 370 руб. | |
| 2 500 руб. | |
| 3 289 руб. | |
| 3 289 руб. | |
| 3 289 руб. | |
| 4 939 руб. | |
| 4 345 руб. | |
| 4 345 руб. | |
| 4 345 руб. |
Комплектация
1. Деревянная горка — 2 шт.2. Лестница — 2 шт.
3. Фурнитура и комплектующие — 1 комплект.
4. Деревянная крыша — 1 шт.
5. Пакет документов для регистрации:
- формуляр
- руководство по монтажу
- руководство по техническому обслуживанию и ремонту
- руководство по эксплуатации
- пример журнала администратора
- пример журнала технического обслуживания и ремонта
- декларация ЕАС
Преимущества
и создана из натуральных материалов.
